Back to Top
Skip to main content
NETL Logo

7.3.2. Co-producing H2 in IGCC with Carbon Sequestration

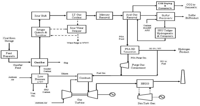
Figure 1 is a block flow diagram for co-producing H2 in a future integrated gasification combined cycle (IGCC) plant with carbon sequestration. Key differences from hydrogen (H2) co-production in today's IGCC, in addition to developing new gas turbines capable of firing fuel with very high Hcontent, are:

  • Use of a full quench gasifier without a high temperature gas cooling (HTGC) system to maximize moisture in syngas feed to the sour shift system for maximum conversion of carbon monoxide (CO) to H2.
  • Selective removal of all of the CO2 from the sour syngas with a two-stage AGR to produce a separate carbon dioxide (CO2) product stream to be dried and compressed for sequestration.
  • Routing all of the sweet gas from AGR (mainly H2 with small amount of nitrogen (N2), methane, and unconverted CO) through pressure swing absorption (PSA) to recover 99.9% H2 product.
  • Bypassing the required amount of H2 product to be combined with the compressed PSA purge to meet the gas turbine (GT) fuel requirement.
  • Compression of some of the waste N2 from the air separation unit (ASU) for use as diluent in the GT to offset mass loss from CO2 removal.
Figure 1: IGCC/Hydrogen Coproduction (With CO2 Sequestration) Block Flow Diagram
Figure 1: IGCC/Hydrogen Coproduction (With CO2 Sequestration) Block Flow Diagram

Table 1 lists typical coal-to-H2 plant performance and efficiency parameters for this type of process scheme. There are three different variations, using different coal feed and gasifiers. The performance and efficiency shown include COcompression for sequestration, and are for maximum power co-production with the use of gas turbine.

Table 1: Typical IGCC/H2 Co-Production Plant with Carbon Capture Performance & Efficiency 1,2

Gasifier Type

E-Gas™

Siemens/Noell

Siemens/Noell

Coal Feed: 
      Type 
      Coal Feed, STPD

Lignite
6,852

Lignite
4,665

ILL # 6
6,000

Products:
      Hydrogen, MMSCFD 
      Export Power, MW

100
224

100
193

153
358

Overall Efficiency, % HHV

46.5

49.2

56.5

 

References/Further Reading

1. Capital and Operating Cost of Hydrogen Production from Coal Gasification (Apr 2003)
Final Report by Parsons for NETL
2. Hydrogen from Coal (Nov 2001)
D. Gray & G. Tomlinson, Mitretek Technical Paper

Hydrogen

 

Gasifipedia Home Button